圓錐齒輪的畫法

單個圓錐齒輪廠家的規定畫法
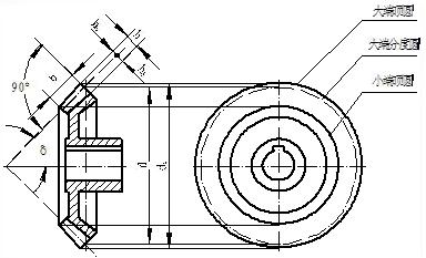
圓錐齒輪廠家通常用于垂直相交兩軸之間的傳動。為了設計和制造方便,標準規定以大端的模數為準,用它決定輪齒的有關尺寸。一對圓錐齒輪嚙合也必須有相同的模數。圓錐齒輪各部分幾何要素的名稱和規定畫法。
圓錐齒輪各部分幾何要素的尺寸,也都與模數m、齒數z及分度圓錐角δ有關。其計算公式:齒頂高ha=m,齒根高hf=1.2m,齒高h=2.2m;分度圓直徑d=mz,齒頂圓直徑da=m(z+2cosδ),齒根圓直徑df=m(z-2.4cosδ)。

單個圓錐齒輪廠家的畫圖步驟
圓錐齒輪的規定畫法一般用主、左兩個視圖表示,主視圖畫成剖視圖,在投影為圓的左視圖中,用粗實線表示齒輪大端和小端的齒頂圓,用點畫線表示大端的分度圓,不畫齒根圓。單個圓錐齒輪的畫圖步驟:

圓錐齒輪廠家的嚙合畫法
圓錐齒輪的嚙合畫法:主視圖畫成剖視圖,對于標準齒輪來說,由于兩齒輪的分度圓錐面相切,因此,其分度線重合,畫成點畫線;在嚙合區內,應將其中一個齒輪的齒頂線畫成粗實線,而將另一個齒輪的齒頂線畫成虛線或省略不畫。左視圖畫成外形視圖。軸線垂直相交的兩圓錐齒輪嚙合時,兩節圓錐角δ1′和δ2′之和為90°。
iHF齒輪22年只做一件事精密齒輪制造—同步帶輪—同步帶,生產廠家標準件大量庫存當天發貨價格優質保障,集研發.生產.服務一體化,版權所有:http://www.dell-pc.org.cn轉載請注明出處
- 圓錐齒輪的畫法
- 齒輪加工周期
- 直齒圓錐齒輪
- iHF合發齒輪廠家淺談齒輪的幾種加工方法
- 工業齒輪對齒輪油的要求
- 表面處理及對小模數齒輪精度的影響
- 同步帶輪規格型號大全
- 提問:火星探測設備用幾級精度齒輪呢?
- 合發同步皮帶輪助力AGV小車讓企業物流智能化
- 同步帶輪配套服務需知
聯系iHF齒輪
18929357195
售后電話:0755-27746221
客服QQ:2850623673
郵箱:2850623673@qq.com
地址:深圳市龍華新區大浪創藝路16號安宏基工業園C棟



