同步帶輪技術特征:
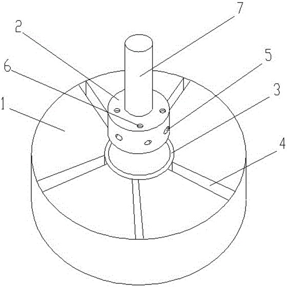
1.一種同步帶輪加工固定底座,包括底座本體和加固座,其特征在于,所述底座本體中央開設有一環形卡槽,所述環形卡槽外側的底座本體上開設有多條排液槽,所述排液槽一端連接到所述環形卡槽上,所述排液槽另一端導向所述底座本體外部,所述加固座與所述環形卡槽對應上下卡合,所述加固座側端面上開設有多個橫向螺母鎖孔,所述橫向螺母鎖孔開設位置分別與所述排液槽開設位置對應,所述加固座上端面上還開設有多個縱向螺母鎖孔,所述橫向螺母鎖孔和所述縱向螺母鎖孔內均導入緊定螺母連接固定,所述加固座上端中央豎直導出一同步帶輪卡柱。
2.根據權利要求1所述的同步帶輪加工固定底座,其特征在于,所述同步帶輪卡柱下端與所述加固座一體式連接,所述同步帶輪卡柱上端對應支起同步帶輪。
3.根據權利要求1所述的同步帶輪加工固定底座,其特征在于,所述加固座上端通過緊定螺母連接導入所述縱向螺母鎖孔而固定在所述底座本體上,所述加固座側端面通過緊定螺母連接導入所述橫向螺母鎖孔而加固。
4.根據權利要求1所述的同步帶輪加工固定底座,其特征在于,所述排液槽為直線型凹槽。
本文由深圳市合發齒輪機械有限公司,合發齒輪17年只做一件事精密齒輪制造—同步帶輪—同步帶,生產廠家標準件大量庫存當天發貨價格優質保障,集研發.生產.服務一體化,
